产品目录
- SATA(世达)
- 综合组套
- 工具箱、工具车、工具包
- 套筒及配件
- 扳手
- 扭力扳手
- 内六角
- 螺丝批旋具头
- 钳类工具
- 切割工具
- 敲击工具
- 测量工具
- 其它手动工具
- 电工电子工具
- 汽修汽保工具
- 轮胎设备
- 气动工具
- 个人防护用品
- 钻夹头
- 宝工
- 测试仪表
- 精密剪角钳/精密电子钳
- 高级电工钳/电缆剪线钳
- 刀剪
- 网路压接工具
- 剥线钳/压线钳
- 焊台/焊接除锡工具
- 精密调整/螺丝批
- 扳手/精密镊子
- 静电防护产品
- 放大镜类
- 光纤工具
- 电动工具及螺丝丝批头
- 零件盒
- 综合工具
- 专业工具箱/工具包
- 专业套装工具
- 防滑手钳系列
- RUBICON(罗宾汉)
- 螺丝批/螺丝批组套
- 精密型螺丝批
- 电脑批
- 绝缘工具/绝缘工具套装
- 电缆脱皮器/剥皮器
- 油压电缆剪
- 压线钳/剥线钳
- 钳/微型钳
- 树枝剪及锯刀
- 铆钉枪/安全眼镜
- 铁皮剪/蛇头剪/鲤鱼钳/大力钳
- 六角扳手/六角扳手套组
- 扳手/扳手套组/扭力扳手
- 套筒/套筒组套
- 气动工具
- 电子工具套装
- 中测
- 高精密四线式线材高压瞬断分析仪
- 精密元件综合分析仪
- 多通道连接器高压测试仪
- 精密触摸式元件测试分析仪
- 精密直流微电阻测试仪
- 耐电压测试仪
- 精密四线式线材综合测试仪
- 精密线材综合测试仪
- 线束/连接器测试仪
- 精密连接器高压综合测试仪
- 精密连接器测试仪
- 精密触摸式电感平衡测试分析仪
- 线圈层间短路测试仪
- 多绕组层间短路测试仪
- 长盛
- 程控多路变频安规测试
- 安规测试仪
- 耐压测试仪
- 耐压校验仪/数字高压表
- LCR数字电桥
- 程控电容器漏电流/绝缘电阻测试仪
- 数字超高阻计/程控绝缘电阻测试仪
- 可编程直流低电阻测试仪
- 电子负载
- 数字扫频仪/函数信号发生器
- 匝间绝缘耐压测试仪
地址:威海市初村镇初河南路60号
客服:0631-5224466 5229596
传真:0631-5219496
邮编:264200
客服:0631-5224466 5229596
传真:0631-5219496
邮编:264200
方形量块附件516系列 首页 > 产品目录 > 精密测量 > 三丰量具 > 量块/高度规/校对量具/花岗岩平台
为了扩展各种量块的应用范围,三丰生产为了量块附件套装,经过简单、快速的组装,就可得到一套精密的测量工具。
性能参数:
公制型
| 货号516-611 | 套装标配 |
| 2个 | 半圆量爪2mm(619070) |
| 2个 | 半圆量爪5mm(619071) |
| 2个 | 平头量爪(619072) |
| 1个 | 中心尖爪(619073) |
| 1个 | 划线器尖爪(619054) |
| 1个 | 量块基座(619074) |
| 2个 | 平头螺钉1.1/4"(619057) |
| 2个 | 平头螺钉5/8"(619058) |
| 2个 | 凹槽螺母(619059) |
| 2个 | 可调尖轨连接杆6"(619060) |
| 2个 | 可调尖轨连接杆4.1/2"(619061) |
| 1个 | 尖轨连接杆3"(619062) |
| 1个 | 尖轨连接杆2.1/4"(619063) |
| 1个 | 尖轨连接杆1.1/2"(619064) |
| 1个 | 尖轨连接杆3/4"(619065) |
| 2个 | 螺栓(619056) |
| 2个 | 滚花螺钉(619066) |
英制型
| 货号516-612 | 套装标配 |
| 2个 | 半圆量爪.125"(619050) |
| 2个 | 半圆量爪.25"(619051) |
| 2个 | 平头量爪(619052) |
| 1个 | 中心尖爪(619053) |
| 1个 | 划线器尖爪(619054) |
| 1个 | 量块基座(619055) |
| 2个 | 平头螺钉1.1/4"(619057) |
| 2个 | 平头螺钉5/8"(619058) |
| 2个 | 凹槽螺母(619059) |
| 2个 | 可调尖轨连接杆6"(619060) |
| 2个 | 可调尖轨连接杆4.1/2"(619061) |
| 1个 | 尖轨连接杆3"(619062) |
| 1个 | 尖轨连接杆2.1/4"(619063) |
| 1个 | 尖轨连接杆1.1/2"(619064) |
| 1个 | 尖轨连接杆3/4"(619065) |
| 2个 | 螺栓(619056) |
| 2个 | 滚花螺钉(619066) |


半圆量爪:
用于测量内径和外径。
.jpg)
| 货号 | R | L | W | H |
| 619070 | 1.95mm | 2mm | 33.6mm | 5.3mm |
| 619071 | 4.95mm | 5mm | 39.9mm | 10.3mm |
| 619050 | .123" | .125" | 33.6mm | 5.3mm |
| 619051 | .248" | .25" | 39.9mm | 10.3mm |
平头量爪:619072(10mm),619052(.5")
用于测量内径和外径。
中心尖爪:619073(2mm),619053(.1")
用于工件划线。

划线器尖爪:619054
用于工件划线。

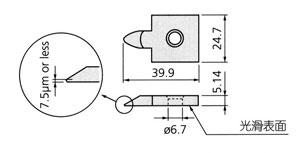
量块基座:619074(10mm),619051(.5")
将其插入方形量块的中心孔作为夹钳使用。

螺栓:619056
.jpg)
平头螺钉

| 货号 | L |
| 619057 | 31.6mm |
| 619058 | 15.8mm |
凹槽螺母:619059

滚花螺钉:619066

尖轨连接杆

| 货号 | L |
| 619065 | 19mm |
| 619064 | 38mm |
| 619063 | 57mm |
| 619062 | 76mm |
可调尖轨连接杆

| 货号 | L | p | n |
| 619060 | 124.5mm | 6.35mm | 14 |
| 619061 | 86.5mm | 6.35mm | 8 |